Електродні котли ЛУЧ можуть бути встановлені в систему опалення закритого типу, як в якості основного, так і резервного джерела тепла. Каталог електродних котлів представлені за посиланням >>>
Обраний Вами електродний котел ЛУЧ повинен відповідати наступним технічним параметрам (див. Таблицю):
- Площа (кубатура) і теплові втрати приміщення, що обігрівається.
- Кількість теплоносія в опалювальній системі.
- Наявна вільна електрична потужність і перетин підвідного силового кабелю.
Вимоги до приміщень, де встановлюється котел
✔ Приміщення повинно бути захищеним (теплоізольованим) від атмосферних впливів, теплові втрати не повинні перевищувати 60 Вт/кв.м;
✔ У приміщенні, в цілях запобігання охолодження теплоносія в котлі, необхідно встановити радіатори опалення.
Вимоги до опалювальної системи
- Система обов'язково повинна бути закритою і мати в складі: групу безпеки (манометр, повітровідвідник автоматичний і запобіжний клапан на 3 bar), розширювальний бак (ємністю 8-10% від обсягу теплоносія). Забороняється установка запірної арматури між вихідним отвором котла і групою безпеки.
- Наявність циркуляційного насоса. Слід пам'ятати, що електродний котел є нагрівачем проточного типу та для коректної роботи котла і системи опалення в цілому необхідно забезпечити проток теплоносія через котел в середньому 1,5-3 кубометрів на годину, тому наявність циркуляційного насоса в системі обов'язково.
- Кількість радіаторів по опалювального об'єкту розраховується залежно від тепловтрат кожного приміщення об'єкта.
- Для ефективної експлуатації обладнання не рекомендується використовувати котли в системах з об'ємом теплоносія більшим, ніж це зазначено в паспортних даних котла, а також монтувати систему в приміщенні з великим опалювальним об'ємом повітря.
- Категорично заборонено використовувати незамерзаючі рідини з питомим опором нижче 1300 Ом * см. Наприклад: Тосол, Антифриз, Глітерм і ін.
- В опалювальній системі без теплообмінника не застосовувати алюмінієві радіатори та оцинковані сталеві труби.
- В опалювальній системі не рекомендується застосовувати старі, що були у вжитку чавунні радіатори та вживані металеві труби - висока ймовірність забруднення електродів, що призведе в подальшому до некоректної роботи котла (підвищене споживання електроенергії) і необхідності частого обслуговування (чищення електродів).
Рекомендації по збірці опалювальної системи
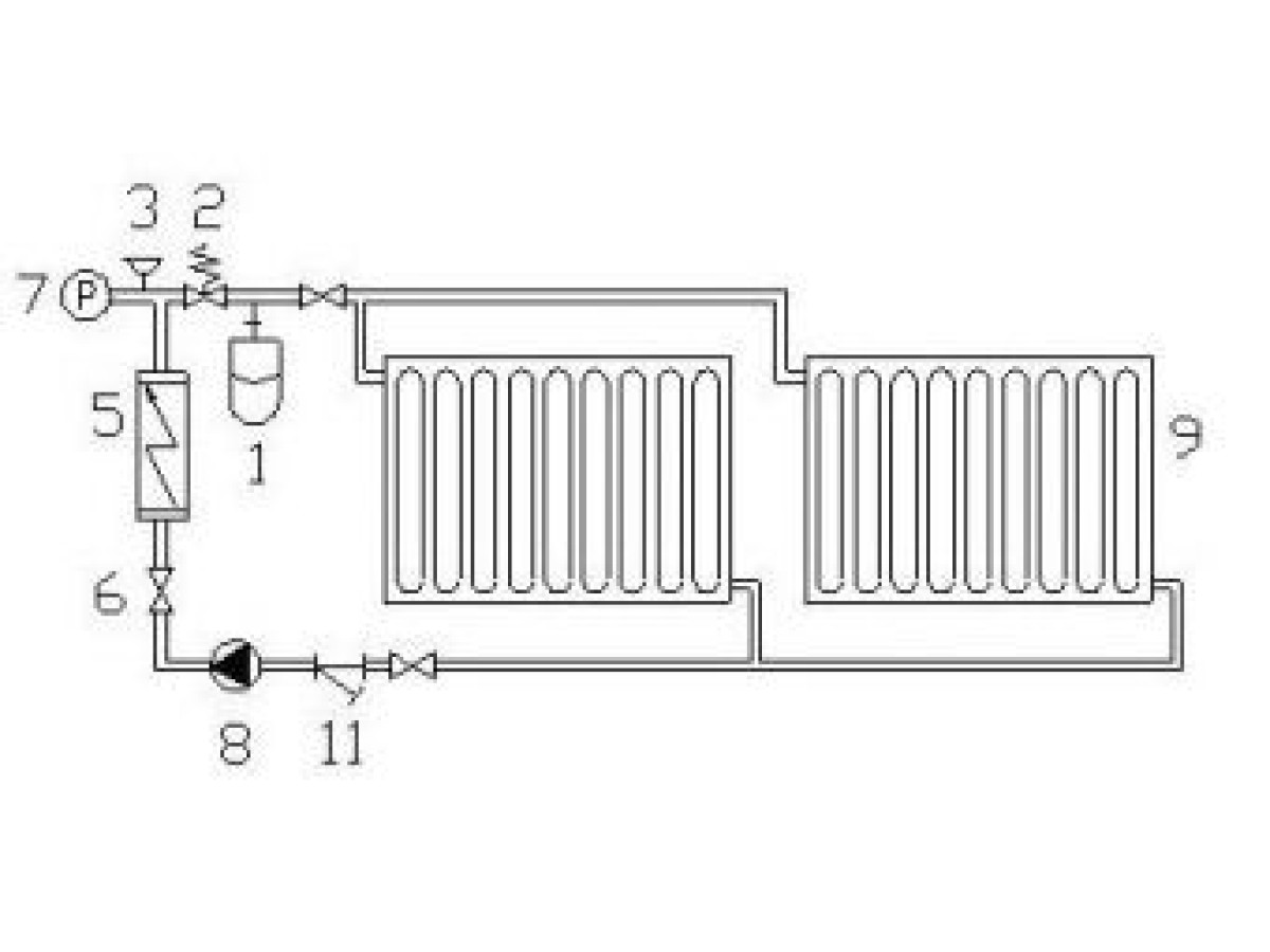
Дотримуватися послідовність з'єднання вузлів котла необхідно для максимально ефективної роботи котла (див. Схему монтажу обв'язки котла). Для якісного нагріву теплоносія на виході з котла вертикально встановити металеву трубу (сталь або мідь) довжиною не менше 50 см і діаметром не менше 3/4 ". Далі встановити групу безпеки. Суворо забороняється установка запірного крана між котлом і групою безпеки! Зробити розводку системи опалення до колекторів-гребінок трубами діаметром не менше 3/4 ". Після колектора можна переходити на труби меншого діаметру. Правильний підбір діаметра труб обв'язки котла і загальної розводки по об'єкту, як і визначення необхідних потужностей котла і опалювальних приладів, повинні виконати професіонали до початку робіт з розведення;
Поставити фільтр грубої очистки (перед входом в насос, див. Схеми підключень) і циркуляційний насос на зворотному трубопроводі з заспокійливої трубою перед котлом.
Підключення до електромережі
✔ Електродний котел повинен бути обов'язково заземлений! Опір заземлення повен бути не більше 4 Ом (провід перерізом не менше 2,5-4-6 мм² в залежності від потужності котла). Значення опору між заземляющей клемою і кожної доступної дотику металевої нетоковедущей частиною вироби, яке може виявитися під напругою, не повинно перевищувати 0,1 Ом.
✔ Не допускається подача напруги на котел з використанням пристрою захисного відключення (УЗО).
✔ Заборонено пряме підключення котла до електричної мережі без блоку автоматики (в комплекті).
✔ Дотримання «фаза-нуль-земля» - обов'язково:
- ФАЗА - кабель коричневого кольору (2-я фаза - чорний, 3-тя фаза - сірий).
- НУЛЬ - кабель синього кольору.
- ЗЕМЛЯ - кабель жовто-зеленого кольору.
Перетин всіх проводів підключення повинно бути однаковим і відповідати Технічним характеристикам (див. Таблицю).
Порядок установки блоку автоматики (БА)
Блок автоматики (БА) призначений для підтримки заданого теплового режиму роботи котла і захисту системи від перегріву. БА випускаються в декількох модифікаціях, які залежать від потужності котла і обраного типу терморегулятора. Це гарантує своєчасне відключення котла і безпеку.
Важливо!
Забороняється установка БА до ознайомлення з цим посібником і інструкцією по експлуатації терморегулятора.
- Зняти передню панель корпусу БА.
- Закріпити БА на стіні або інших конструкціях приміщення за допомогою саморізів, що входять в комплект поставки. Відстань між опалювальними пристроями і блоком автоматики повинно бути не менше 0,5 м. Забороняється установка БА безпосередньо під сполуками трубопроводу, групою безпеки і ін. З метою уникнення потрапляння на нього рідини в разі розгерметизації системи.
- Вирізати вікна для підвідних кабелів по розмітці в стінці корпусу.
- Підключити датчики, силові кабелі котла і циркуляційний насос згідно додається до цієї Інструкції Схемі електричного підключення.
- Після підключення встановити на місце передню панель, подати на блок автоматики напруга живлення і зробити установку (програмування) параметрів БА.
Датчик подачі повинен бути закріплений на виході з котла (оптимально - на виході з розгінної труби на металевій частині) і для точності показань повинен бути заізольований. А датчик обратки (при наявності в даній комплектації) закріплюється на вході в котел (заспокійлива труба) і також повинен бути заізольований. Датчик повітря (програматор температури повітря) повинен встановлюватися так, щоб він не знаходився під впливом джерел тепла або холоду.
Обов'язково однофазний котел (220В) підключати до 3-х провідної мережі (фаза, нуль, земля), а трифазний - до 5-ти провідної мережі (3 фази, нуль, земля).
Запуск електродного котла
Запуск котла повинен проводитися фахівцями, що мають допуск від компанії-виробника.
- Незалежно від того чи використовується котел в новій системі або встановлений в раніше існуючу, перед заливкою теплоносія і запуском обов'язкове опресовування (перевірка на герметичність тиском до 3 bar) і промивка системи чистою проточною водою. Залежно від забрудненості або при використанні в системі б/у вузлів, промивку провести кілька разів. У системах з теплою підлогою або з важкодоступними для зливу теплоносія ділянками використовувати для видування компресор. В окремих випадках використовувати для промивання дистильовану воду.
- Початковий запуск проводити на очищеної (дистильованої) воді при t° теплоносія (дистиляту) не нижче 15 °С. Інакше, теплоносій бажано підігріти, так як система буде прогріватися дуже повільно.
У разі запуску електродного котла на звичайній воді, що містить в собі солі і луги, важкі метали, або підвищення тиску в системі через кран підживлення ХВП, з часом на електродах котла будуть утворюватися відкладення (накип), що спричинить за собою падіння потужності котла і перевитрата електроенергії, можливий вихід з ладу обладнання. Дані неполадки ідентифікуються, і виріб знімається з гарантії. - Тиск в системі встановити ~ 1,5 bar при t ° теплоносія 15 °С.
- Запуск проводити з обов'язковим використанням амперметра для виміру стартових струмів щоб уникнути виходу з ладу автоматики. Стартовий струм при запуску повинен відповідати значенням, вказаним в Таблиці Технічних характеристик. В іншому випадку забороняється подальша експлуатація котла.
- Для підвищення сили стартового струму до необхідного значення необхідно додавати в систему малими порціями спеціально підготовлений електроліт для електродних котлів. Для зниження - розбавити теплоносій дистильованою водою. При запуску в системах з великою кількістю теплоносія слід ретельно розмішувати циркуляційним насосом доданий електроліт до моменту повної стабілізації струмів. В окремих випадках може знадобитися контроль і коригування струмів на наступний день.
- Якщо стартовий струм (при t° теплоносія 15 °С) підібраний правильно, потрібно провести контрольні заміри сили струму при t° теплоносія 45 °С і 75 °С (див. Таблицю). Слід пам'ятати, що при швидкому наборі температури теплоносія, датчик відображає значення температури з невеликою затримкою
- Надмірний тиск в системі при високих температурах теплоносія може бути викликано неправильним підбором розширювального бака - 8-10% від обсягу теплоносія в системі.
Експлуатація котла ЛУЧ
- Для ефективної роботи котла ознайомитися з інструкцією роботи терморегулятора, що входить в комплект блоку автоматики.
- Встановлювати на регуляторі максимальну температуру теплоносія з подачі не вище 75 °С!
- Для більш довговічною роботи всієї системи опалення встановлювати температуру не вище 65 °С. Так як навіть після відключення котла при досягненні встановленої температури реакція іонізації (нагрівання) теплоносія триває інерційно ще якийсь час (~ на 10-12%) внаслідок чого є можливість закипання теплоносія і виходу котла з ладу (не гарантійний випадок).
- Гістерезис - різниця температур між включенням і відключенням котла - встановлювати не менше 1 °С. Для більш економною роботи котла рекомендовані показники гістерезису 4-6 °С (в залежності від особливостей приміщення, що обігрівається).
- При включенні і в ході роботи котла обов'язково перевіряти роботу циркуляційного насоса. Для робочого стану сертифікованого якісного насоса характерна легка вібрація і дуже слабкий шум.
- Стежити за робочим тиском в системі. Якщо тиск в ході експлуатації падає, перевірити цілісність системи. Також в системі з великою кількістю кутів і переходів з часом можливий вихід повітря через автоматичний развоздушнік. В цьому випадку потрібно підкачка теплоносія.
- Зниження ефективності роботи котла можливо також внаслідок засмічення фільтра грубої очистки (бруд з радіаторів, частинки пластику після пайки та ін.).
- Для збереження гарантії на виріб проводити ТО не рідше 1 раз на рік.
Технічне обслуговування
Котел повинен підлягати періодичному (не рідше одного разу на рік, оптимально - перед початком опалювального періоду) технічного обслуговування, а з часом і контролю над зносом електродів.
Перед введенням в експлуатацію, а також через дві години роботи після пуску і періодично протягом опалювального сезону, але не рідше одного разу на місяць, необхідно оглядати котел, перевіряти надійність кріплень дротів, кабелів, затягування різьбових з'єднань. При необхідності, з'єднання підтягти, уникаючи пошкоджень, що впливають на подальше функціонування котла. Перевіряти надійність заземлення.
Фахівцями проводиться очистка фільтра, при необхідності промивка системи опалення, обов'язково перевіряються пускові і робочі струми. У разі неполадок в роботі опалювальної системи відключіть обладнання від мережі і негайно викличте для їх усунення фахівців обслуговуючої організації.
Технічне обслуговування блоку автоматики в період експлуатації повинен проводиться не рідше одного разу на 6 місяців і включати в себе виконання наступних операцій:
- очищення корпусу і клем від пилу, бруду і сторонніх предметів;
- перевірка надійності затягування клем;
- перевірка кріплення та ізоляції датчиків температури.
Виявлені під час огляду недоліки слід негайно усунути. Технічне обслуговування котла проводиться після повного відключення електроживлення тільки спеціально навченим персоналом.
До обслуговування котла допускаються особи, які вивчили принцип роботи, конструкцію, порядок робіт, що пройшли інструктаж з техніки безпеки, а також отримали допуск на виконання даного виду робіт від Виробника вироби.
При виконанні робіт з технічного обслуговування необхідно дотримуватися зах
Написати коментар